Vai al contenuto
Menu
Menu
News
Games
Altri Giochi
Curiosità
Tech
Lifestyle
Playstation Move
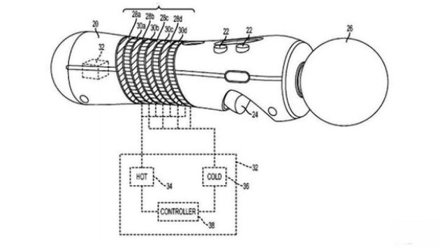
PlayStation Move termico: Sony deposita un nuovo fantastico brevetto
Ottobre 13, 2012
PlayStation Move a quota 9 milioni, quasi raggiunto Kinect
Novembre 26, 2011
Il PlayStation Move di Sony raggiunge 8,3 milioni di unità vendute
Ottobre 14, 2011
Little Big Planet 2 ha un nuovo trailer dedicato al Move Pack
Settembre 14, 2011
Little Big Planet 2 si aggiorna in attesa del Move Pack
Settembre 7, 2011
Little Big Planet 2: in arrivo un annuncio importante?
Settembre 6, 2011
Little Big Planet 2 presto avrà un entusiasmante Move Pack: ecco le novità
Agosto 29, 2011
Nell’attesa di FIFA 12 continuano le informazioni sul prossimo capitolo della serie
Agosto 27, 2011
A FIFA 12 non si potrà giocare con Kinect e Move: ecco perché
Giugno 14, 2011
PlayStation Move doveva essere utilizzabile anche sulla PSP
Maggio 24, 2011
Kinect si vende meno di Playstation Move in Giappone
Aprile 12, 2011
Giochi per PS3: PlayStation Move Ape Escape in arrivo in estate
Marzo 15, 2011
Sony PlayStation: tutti i dettagli sul progetto Move.Me
Marzo 8, 2011
Kinect: previsioni per le vendite nel 2011
Dicembre 28, 2010
PlayStation Move: tutti i videogiochi compatibili
Dicembre 21, 2010
1
2
3
4
>>
Articoli recenti
Primo Piano
Altro che Yamal: svelato il talento più forte di tutto FC26
News
Crash Bandicoot, dal gioco alla serie Netflix: sarà la più bella di sempre
News
Killzone non esce più su PS5: il suo ‘killer’ è già pronto, fan delusi
News
Giochi gratis annunciati su PS5: come ottenerli e quando scaricarli
Console
,
News
PS5 vs Xbox, è la fine di un’era: l’annuncio ufficiale di GameStop
News
Polemiche su Ultimate Team, FC26 elimina tutto: spunta un grosso problema
Ricerca per:
Gestione cookie