
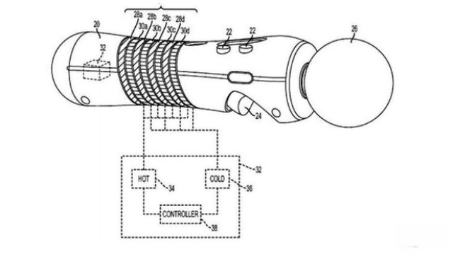
Sony non ha ancora proferito parola su PlayStation 4, ma su PlayStation Move ha le idee abbastanza chiare: il controller è finito al centro dell’attenzione dei mass media e dei suoi sostenitori per via di un’ultima interessante trovata; la compagnia, infatti, ha depositato recentemente il brevetto di un nuovo modello della periferica, che permetterà, pensate, di generare l’effetto del riscaldamento e del raffreddamento della mano del giocatore, modificando la temperatura. Il documento in questione non è parco di informazioni, per fortuna; Sony ha fornito numerosi dettagli, in effetti, su molte delle applicazioni che consentiranno l’utilizzo del nuovo hardware: sarà possibile avvisare il gamer, quando l’arma si surriscalderà oppure quando si verrà colpiti, per dirne una, da sfere infuocate; se dovessimo toccare una superficie fredda, avverrebbe lo stesso: il controller avviserebbe in qualche modo il giocatore che dovrà comportarsi, ovviamente, di conseguenza. Ma non è finita qui.
Accusata da sempre di poca originalità e intraprendenza – e non a torto, visto che gran parte dei prodotti sono una copia della più creativa Nintendo -, Sony ha anche pensato di utilizzare il controller per applicazioni non legate al gameplay, ma comunque utili al gamer: per il raffreddamento del palmo della mano del giocatore, per esempio, al fine di evitare una sudorazione eccessiva (problema che colpisce, e infastidisce, non pochi utenti).
La trovata della compagnia è davvero entusiasmante, perché, pur rendendolo più complesso, offre un gameplay sicuramente più realistico e vicino, quindi, al mondo del personaggio giocabile; resta davvero difficile credere, però, in un rilascio immediato del nuovo PlayStation Move (che sia destinato a un abbinamento con PlayStation 4?); come se non bastasse, viene spontaneo chiedersi come farà Sony a progettare una batteria con una autonomia, se non buona, perlomeno decente. E che dire del prezzo? Quale cifra stratosferica potrebbe proporre questa volta? I nodi da sciogliere, insomma, sono molti. Meglio restare con i piedi per terra…





